
摘 要:为解决某电厂循环水泵电机换新后振动超标问题,采用频谱分析进行故障诊断,确定为共振问题。再借助有限元计算,有针对性地对泵组进行支撑加固,改变了泵组的固有频率,使其远远避开了共振区间,共振问题因此得到妥善解决。
立式混流泵广泛应用于能源化工行业冷却水输送、海水淡化、城市排水、南水北调、农业灌溉等,但由于其轴系长、支撑刚度低等特点,无论是变频改造还是更换某些部件,都极易引发水平方向的共振问题。一旦发生共振问题,如果不进行振动分析、明确振动机理、破坏共振条件,仅每次检修转子部件、更换磨损的导轴承等,将无法彻底解决振动问题。本文结合频谱分析及有限元分析,为此类转频共振问题提供了解决思路,该思路成本低,效率高。
循环水泵为立式单级、非抽芯式混流泵,叶片角度固定不可调,泵重7.5 t,额定转速745 rpm。新更换的电机为定速电机,重量7.2 t,额定转速747 rpm,泵与电机配有各自的推力轴承。

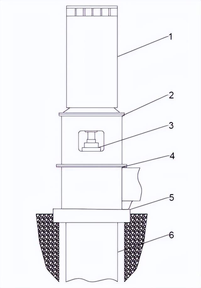
图1:循环水泵外形结构
如图1所示,泵组分为基础以上部分(依次为:1. 立式电机,2. 电机架,3. 水泵推力轴承箱,4. 出水弯座,5. 底板)和基础以下部分(为:6. 泵体及转子部件)。
四台循环水泵自更换新电机后,运行均出现电机顶部轴承水平方向振动严重超标的情况。
循环水泵及电机初始振动速度如表1所示。

表1:初始振动速度表(mm/s,rms)
脱开泵与电机之间的联轴器,进行电机空载测试,频谱见图2。

图2:电机空转频谱
电机空转振动速度见表2。

表2:电机空转振动速度(mm/s,rms)
根据频谱,判断电机振动主要由转频引起(额定转速745rpm,频率12.45Hz)。转频振动大,考虑的因素有:转子动平衡差,转子缺陷,安装松动,共振等。此前水泵和电机均返厂维修,重做动平衡,均未解决振动问题,因此判断共振的可能性较大。
进行敲击实验,固有频率测试结果如图3和表3。

图3:电机固有频率

表3:电机固有频率
出水方向和垂直出水方向固有频率存在差异,主要是因为:
1)电机架垂直出水方向开了检修窗。
2)出水方向连接了出水管路[1]。
物体的固有频率和物体的质量成反比,和刚性成正比,表达式为:

式中,

因此,我们可以通过改变物体刚度或质量来改变固有频率,避开共振区间,减小振动。如松开电机地脚螺栓后空转电机,电机顶部振动由先前的18 mm/s~20 mm/s(rms)下降至2 mm/s~4mm/s(rms),变化明显。因为松开螺栓后,刚性下降,固有频率改变,破坏了共振条件从而影响振动,该方法可以作为无频谱分析仪时判断共振的简单方法[1]。
对于共振问题,有限元分析是出具解决方案最直接有效且低成本的方法之一。通过数值计算,在不更改土建和设备的情况下,得到改造后的泵组的固有频率,大大降低了试错风险和成本。

图4:原泵组有限元分析

表4:原泵组固有频率计算结果
API610标准规定,固有频率应避开转子频率的±10%。工程上,固有频率±10%为严重共振区,固有频率±20%为共振风险区[2]。
解决共振问题,可以从两方面着手,一方面减弱振动激励力,另一方面改变固有频率以避开共振区。改变固有频率也可以从两方面考虑,一是通过增强刚度或减轻质量来提高固有频率,二是通过减弱刚度或增加质量来降低固有频率[3]。对于变速运行的设备,一定要避免改造后的设备的固有频率落在工作转速区间,避免和其他常见故障频率重合(如2X,3X等),否则会出现解决了一个共振点却引发了另个共振点的情况。
一般地,为了减少工期和成本,工程上大多采取加支撑的方式来提高固有频率。若通过焊接的方法将支撑件和泵组相连,需要注意泵组部件是否热变形,带来结构安全风险。本案例中,通过三维建模,在地基上建立四根斜撑,顶住电机架,再对改造后的泵组进行有限元计算。

图5:改造后泵组有限元分析

表5:改造后泵组固有频率计算结果
经过计算,加上四根斜撑,在正确安装的情况下,改造后的泵组的固有频率有了明显提高,远远避开了共振风险区。
将设计制造好的斜撑通过膨胀螺栓固定在基础地面,另一端通过螺栓紧固在电机架上。
空载测试中,电机顶部轴承水平方向振动均小于1.5 mm/s(rms),带载测试振动也小于2 mm/s(rms),共振问题得到解决。
对于立式泵强烈的转频振动,在进行转子故障分析或安装问题检查的同时,要判断泵组有无共振风险[4-5]。若固有频率与转动频率避开率低,则需要处理共振问题。通过三步走的方法:定位振动源,确认共振问题,改造泵组以改变固有频率,从而达到解决振动的目的。
[1] 何国安,龚伟,李志强,张卫军.立式泵组结构共振分析及治理[J].热力发电2015,44(11):94-97.
[2] 孔涛,周文朝,李海峰.立式泵组共振问题分类及预防[J].水泵技术,20199(2):19-23.
[3] 付江永,刘明利,王鸿雁.核电站立式长轴泵电动机故障诊断及处理[J].发电设备,2019,33(3):201-204.
[4] 柯啸.核电站立式泵-电机振动高设计改进[J].电气技术,2017,7:73-77.
[5] 潘再兵.立式导叶式泵振动问题的探讨[J].中国农村水利水电,2008,7:100-102.
两位作者均来自于:上海凯士比泵有限公司